标准孔板

标准孔板

  • 描述: 标准孔板的是一件中间开有节流孔的圆盘形节流元件,是近百年国内外使用量大的节流装置,国外前辈长期实验研究和工业实践积累了丰富的试验研究数据,它的结构简单,安装方便,但压力损耗很高。
详情信息

  一、标准孔板取压方式可分为:

  a. 角接取压标准孔板:环室角接取压标准孔板,单独钻孔角接标准孔板

  b. 法兰取压标准孔板

  c、径距取压标准孔板,径距取压要求正压侧取压孔距离孔板前端面 1D,负压距离孔板前端面 0.5D,故订货时要求随货配套直管段,取压孔在直管段上加工出来,方便现场的安装。


  二、管道连接方式:

  a. 直接焊接式:由节流件与取压装置及取压短管组成,适合 高温高压流量测量。

  b. 法兰连接式:由法兰、节流件、取压装置及取压短管组成。


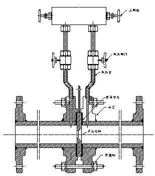
  三、一体化标准孔板

  一体化标准孔板由取压法兰、孔板、取压短管等组成。在出厂前就把取压管、取压阀门、三阀组有效的连接好,不用现场再安装取压管部分。



  四、内藏式标准孔板

  内藏式孔板由法兰、取压装置、孔板、取压短管等组成,适用于≤DN80 管径的流量测量。



上一条:
下一条:标准喷嘴